U ovom tekstu ćete pročitati nešto o satovima kojih se svakako sećate iz poznih decenija prošlog veka, a krasili su komode, natkasne ili stolove mnogih stanova. Često su nam ih donosili rođaci ili prijatelji iz inostranstva, a povremeno su se mogli kupiti i u domaćim radnjama. Satovi o kojima ću pisati na engleskom se nazivaju flip clock, što označava sat sa digitalnim prikazom brojki, ali sa mehaničkim pogonom, najčešće na struju. Evo kako izgledaju neki primerci:
Ukoliko govorimo o njihovom istorijatu, moraćemo da ukratko spomenemo digitalne satove, ali i javne panoe sa informacijama. Otkud ovako čudan spoj? Pročitajte ostatak teksta, pa ćete saznati.
Flip satovi i digitalni satovi imaju zajedničke pretke. U tekstu koji je linkovan u zagradi (Digitalni mehanički (jump-hour) satovi) možete pročitati nešto više o pionirima ove oblasti, uz nezaobilaznog časovničara Josefa Pallwebera, ali satovi koji najviše podsećaju na flip pojavili su se početkom dvadesetog veka. Engleski naziv im je Plato clocks, a domaći termin, nažalost, ne znam. Evo kako su izgledali ovi satovi:
Kućište im je bilo cilindričnog oblika i od metala, a imalo je i providan stakleni deo. Iza stakla su se nalazile kartice sa brojevima, a pošto je upotreba struje bila u povoju, ove satove je trebalo navijati. Patentirao ih je Amerikanac Eugene Fitch (Judžin Fič) 1903. godine, prvi put su predstavljeni godinu dana kasnije, a proizvođač je bila Ansonia Clock Company.
Da bismo nastavili ovaj kratak istorijat, potrebno je načiniti jedan vremensko-prostorni skok od oko pola veka i nešto manje od 7.000 km. Selimo se u Italiju, i to u Udine, a u ovom trenutku pomenućemo i kompaniju Solari. Iako Solari počinje kao časovničarska firma još 1725. godine, u periodu posle Drugog svetskog rata potomci osnivača postaju slavni jer oživljavaju digitalni prikaz vremena. Braća Fermo i Remigio (Remiđo) Solari popularišu ovaj vid prikaza – Remigio je postojeći prikaz uredio u alfanumerički, tj. prikazivane su i brojke i slova i rođeni su panoi kakve danas možemo videti na železničkim i autobuskim stanicama, kao i na aerodromima. Ovakvi panoi se i danas mogu videti na aerodromima širom sveta, pa i u Beogradu, premda su ove današnje gotovo sasvim potisnuli obični monitori. Slika koju vidite u nastavku preuzeta je sa B92.
Iako sada govorimo o dve vrste uređaja, zadržaćemo se na satovima. Pošto je Remigio umro 1957. godine, njegov brat Fermo inkorporira postojeću tehnologiju sa satom. Jedan od najpoznatijih modela, Cifra 3 dizajniran je nešto kasnije, a za jednostavan i elegantan izgled zaslužan je Gino Valle (Đino Vale), koji je 1965. godine za to i nagrađen, a ovaj čuveni model se čuva i u Muzeju savremene umetnosti u Njujorku, kao i u Muzeju nauke u Londonu. Evo kako izgleda Cifra 3:
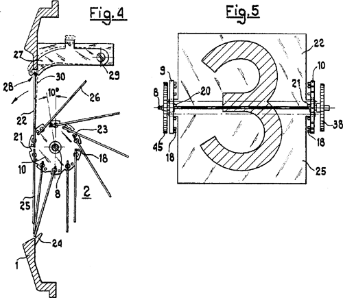
Vreme je da predstavimo i mehanizam, koji se nije mnogo promenio.
U kućištu se nalazi elektromotor koji pokreće dva glavna zupčanika. Jednom je za pun okret potrebno 60 minuta, a drugom 24 sata. Ovaj brži je povezan sa osovinom, odnosno prstenom koji ima 60 plastičnih kartica. Na karticama se nalazi polovina broja, tako da kada se otvore prikazuju jedan broj, tj. polovinu cifre vidimo na gornjoj kartici, a drugu polovinu na donjoj. Kartice se listaju praktično kao knjiga. Drugi zupčanik je povezan sa sličnom osovinom koja sadrži 48 kartica, a one prikazuju sate. Za svaki sat postoje po dve kartice, tj. po polovina broja, a ima ih ovoliko jer se vreme prikazuje po dvadesetčetvoročasovnom principu. Naravno, ovde postoje i razne varijacije, ali njima se nećemo detaljnije baviti. Jedina mana kod ovakvih mehanizama jeste što se ne mogu navijati unazad, pa tako da kada nastupi zimsko računanje vremena, sat morate naviti tako što ćete zapravo okrenuti 23 časa unapred.
Naravno, ovakav tekst ne bi bio zanimljiv bez još malo slika.
Kao što se vidi, mnogi proizvođači ovih satova nisu primarno časovničarske kompanije, a imena koja se javljaju poznata su po drugim proizvodima. Među njima su Sony, Panasonic, Krups, General Electric i mnogi drugi. To je možda i razlog što su neki satovi tehnički obogaćeni, najčešće radio uređajem, a mnogi imaju i osvetljenje displeja.
Iako su ovi satovi ustupili mesto klasičnim digitalnim satovima-budlinicima, njihov dizajn je ipak preživeo. I danas se mogu kupiti novi satovi ovakvog izgleda, koji ih ponekad imitiraju samo izgledom, a gotovo svakom korisniku mobilnih telefona na platformi Android poznato je da vremenski prikaz može imitirati flip-satove. Iako su možda neki modeli bili iritantni u spavaćoj sobi zbog kliktanja prilikom promene sata i minuta, mislim da bi ovakav sat trebalo imati u kolekciji, jer nosi duh jednog ne tako davnog vremena.
Izvori:
A Short History of Digital Clocks and Watches
The official FLIP CLOCK website - Order your FLIPCLOCKS online!
Solari di Udine spa - soluzioni tecnologiche d'avanguardia
Flip clock - Wikipedia, the free encyclopedia
Inače, ovog teksta ne bi bilo da ideju nisam dobio u jednom razgovoru sa Skydrummerom, kome se ovom prilikom i javno zahvaljujem.![]()
Registracija
Help


55Likes
LinkBack URL
About LinkBacks















Odgovor sa citatom



Bookmarks sajtovi