10 Priloženi(h) fajl(ova)
Ronilački satovi - mali vodič
Skydrummer je napisao odličan tekst o istoriji ronilačkih satova, tako da tu nemam šta da dodam. Ja ću ovaj vodič ipak započeti jednom zanimljivom pričom, za koju mislim da nije pominjana na forumu.
Može se reći da je prvi vodootporan sat bio Rolex Oyster iz 1926. godine. U praksi je to proverila Mercedes Gleitze. Ona ga je nosila na traci, oko vrata, prilikom preplivavanja engleskog kanala. To je bio njen drugi prelazak. Uspela je i prvi put, nekoliko nedelja ranije, ali je svega par dana posle njen rekord oboren. Prilikom drugog pokušaja, usled veoma loših uslova, bila je primorana da odustane i to na svega 7 milja od obale. Tako iscprljena je čamcem došla do obale, a jedan novinar primetio je nešto zanimljivo oko njenog vrata. Bio je to Rolex Oyster, koji je preživeo njeno preplivavanje. Odličan marketinški potez za Rolex. Ostalo je istorija...
Da se prebacimo na 1953. godinu i premijeru Rolex Submariner modela. Iste godine debitovao je i Blancpain Fifty Fathoms. Ova dva modela ostavila su izuzetno dubok trag u istoriji ronilačkih satova. Submariner je ipak mnogo poznatiji širokim masama, zahvaljujući odličnom marketingu, ali i činjenici da njegova proizvodnja nije prekidana od 1953. godine. Fifty Fathoms je u proizvodnji bio desetak godina, da bi tek nedavno bila predstavljena nova serija ovog modela.
Iako su Submariner i Fifty Fathoms izgledom dosta različiti, imali su neke zajedničke karakteristike, koje su se ustalile kod ronilačkih satova. To je prihvatilo i britansko ministarstvo odbrane, kao zahteve koje ronilački satovi moraju ispuniti (pored vodootpornosti od 200-300 metara).
1) Čitljivost - kazaljke i markeri na brojčaniku moraju biti vidljivi u uslovima sa slabim osvetljenjem, odnosno potpunom mraku. radijum i tritijum korišćeni su u prethodnim decenijama, ali se ipak radilo o radioaktivnim supstancama. Rešenje je stiglo tokom 1990-ih godina, kada je razvijena SuperLuminova, i slični premazi. Oni su potpuno bezbedni za upotrebu, ali ipak njihovo osvetljenje nije dugoročno kao radijuma i tritijuma. Ipak ispunjavaju današnje potrebe, i ako se pre zarona napune na svetlosti, izdržaće celokupno vreme ispod vode.
2) Rotirajuća korona u jednom pravcu. Ovo je bila ključna karakteristika pre pojave ronilačkih kompjutera. Ipak rotirajuća korona i danas može poslužiti kao rezervna opcija, ukoliko ronilački kompjuter otkaže, bude oštećen... Većina ronilačkih satova na koroni ima luminescentni marker, na poziciji "12h". Zbog čega je važno da korona bude rotirajuća u jednom pravcu i to suprotno od kazaljke na satu? U slučaju da sa satom zakačite nešto prilikom ronjenja, može doći do pomeranja korone. Zahvaljujući rotiranju samo u pravcu suprotnom od kazaljke na satu, prilikom slučajnog pomeranja korone, mereno vreme može biti samo kraće. Tako ronilac neće doći u situaciju da mu nestane kiseonika u bocama.
3) Indikator da sat radi - sekundna kazaljka. Ronilac mora znati da usled prodiranja vode, ili nekog drugog oštećenja sat nije stao.
I tako je do sredine šezdesetih godina prošlog veka, skoro svaki ozbiljniji proizvođač u svojoj ponudi imao ronilački model. Ne smemo zaboraviti ni Japance! Prvo Seiko, a zatim i Citizen. O njima je već bilo reči u drugim temama. Na primer tekst o Seiko Prospex modelima, gde je pokrivena i istorija, pa da se ne ponavljam.
Novi ili vintidž sat?
Ronilački satovi imaju veoma bogatu istoriju, tako da bi verujem svi ljubitelji voleli da imaju jedan vintidž primerak. Ovakvi primerci su ipak samo za paradno nošenje. Ako je neki sat zaista dugo godina korišćen pod vodom, on se ne može zadihtovati kako treba. Ni nerđajući čelik nije svemoćan, navoji su odavno oštećeni od soli, a dihtunge da ni ne pominjemo.
Ronilački satovi i odelo? Naravno!
Ronilački satovi su obožavani od strane mnogih baš zbog njihove svestranosti. Mogu se upariti sa svim odevnim kombinacijama, pa čak i sa odelom. Ne baš svi (zamislite samo Orange Monster), ali... Ako je Džejms Bond mogao...
Metal, guma, najlon, koža?
Može se reći da ronilačkim satovima dobro stoji najveći broj narukvica/kaiševa. Odlično rešenje je NATO/ZULU kaiš. Pored niske cene, veoma je udoban, praktičan, a povrh svega siguran. Veoma teško ćete ostati bez sata sa ovom vrstom kaiša, pa čak i ako vam iglica sa jedne strane pukne, sat će se zadržati na drugoj, pošto se ovaj kaiš provlači ispod iglica. NATO je dizajniran u skladu sa potrebama britanskog ministarstva odbrane. ZULU predstavlja američku verziju. Generalno radi se o istoj stvari, s tim što su prstenovi na ZULU kaišu veći i ovalnog oblika. Pored toga, zbog svoje dužine, ovi kaiševi se mogu lako prilagoditi ronilačkom odelu.
Čelicna narukvica često izgleda najbolje na ronilačkim modelima. Ipak ima i praktičnijih rešenja za ronjenje, kao što su NATO/ZULU. Od metalnih, najpraktičniji je "mesh" tip narukvice. Veoma je udobna, jer se oblikuje prema ruci, a pruža i dobru cirkulaciju vazduha.
Guma je odlično rešenje za tople letnje mesece, kada metalna narukvica može biti neprijatna za nošenje. Dobra je i za vodu. Ipak posle upotrebe u slanoj vodi, treba je proprati pod slavinom, kako bi joj se produžio životni vek.
Iako nepraktično rešenje, kožni kaiš doprinosi elegantnijem izgledu jednog ronilačkog modela. Može biti dobro rešenje za hladnije mesece, ipak ne vredi potapati sat sa kožnim kaišem.
Šta još treba spomenuti?
Nema ronilačkog sata bez ušrafljujuće krunice i poklopca sata. Iako proizvođači satovima i bez tih karakteristika propisuju velike vodootpornosti, to ne znači da sa njima trebate da se okupate. Više se radi o rešenju za svaki slučaj, kada se nađete u nekoj nenadanoj situaciji.
Propisana vodootpornost bi trebala da iznosi bar 150 metara, Većina rekreativnih ronilaca ne zaranja dublje od 20-40 metara, tako da bi tih 150 metara trebalo da bude i previše. Ipak, propisana vrednost se odnosi na atmosferski pritisak koji kućište sata izdržava, ne na stvarnu dubinu.
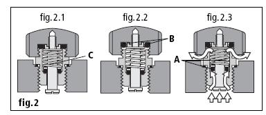
Neki proizvođači u skuplje ronilačke modele ugrađuju otpusni helijumski ventil. Možete videti ilustraciju za Omega satove. Ovaj ventil koristi se tako što se ručno odvrne kada izađete na površinu.
Zašto je ovaj ventil potreban? Prilikom dužih zarona, ispod ronilačkih zvona, molekuli helijuma mogu proći u kućište sata. Kada jednom uđu unutra, ne mogu izaći napolje, osim na najslabijoj tački kućišta - spoju sa staklom. Tako bi bez ovog ventila staklo puklo, ili izletelo sa kućišta, pri izlasku na površinu. Rolex na primer koristi otpusni ventil koji nije potrebno ručno regulisati. Molekuli helijuma vrše pritisak na oprugu u kućištu, koja omogućava njihov izlazak. Rolex je prvi patentirao otpusni helijumski ventil, tokom 1960-ih, kod legendarnog modela Sea-Dweller.
Veličina.
Sve od 36, do 60 mm. 36 mm je ipak klasičnija veličina i po današnjim standardima možda premala za ronilački sat. Treba imati u vidu dosta široku koronu kod ronilačkih modela, koja oduzima dosta prostora. Za većinu je dimenzija od 42, pa čak i 44 mm optimalna. A nekima se možda i dopada Panerai korišćen od strane egipatske mornarice, čiji prečnik iznosi 60 mm. Ronilački modeli uglavnom "sede" visoko na zglobu, jer je njihova visina kućište generalno veća.
Izvor
Re: Ronilački satovi - mali vodič
Odlican tekst, svaka cast:congrats:
Moram priznati da nisam znao razliku izmedju ZULU/NATO kaisa.
Re: Ronilački satovi - mali vodič
Poucan tekst ,hvala nesto sam i naucio:)
3) Indikator da sat radi - sekundna kazaljka. Ronilac mora znati da usled prodiranja vode, ili nekog drugog oštećenja sat nije stao.
Re: Ronilački satovi - mali vodič
Odličan tekst, svaka čast!!! Ja imam jedno pitanje: da li je neko od članova foruma imao iskustvo sa 4mm mesh narukvicama (to su one deblje) koje se prodaju na Ebay-ju? Koliko su zaista dobre? Da li su urađene kvalitetno tj. da ne čupaju dlaku? Koliko je to dobra investicija s obzirom da i nisu jeftine, od nekih 60$ pa do skoro 100$?
Re: Ronilački satovi - mali vodič
Ja imam jednu 77 grama je,masivna i vredi svaki eur. To mogu i neki clanovi koji su je videli da ti kazu.
Re: Ronilački satovi - mali vodič
Hvala Krstin za predivan tekst!!! :)
Re: Ronilački satovi - mali vodič
Hvala i vama na citanju:)
Re: Ronilački satovi - mali vodič
Citat:
milan zmaj kaže:
Ja imam jednu 77 grama je,masivna i vredi svaki eur. To mogu i neki clanovi koji su je videli da ti kazu.
Vala-vredi!
Stvarno ulepšava sat i menja mu ceo ''fazon'' na bolje.
Re: Ronilački satovi - mali vodič
Svaka cast,odlican tekst a nesto smo i naucili!:congrats: